中医药标准体系表

2026-1-6 21:48| 发布者: 中国文化| 查看: 441| 评论: 0

摘要: 我局组织制定了《中医药标准体系表》,用于指导中医药国家标准、行业标准制定紧密围绕中医药重点工作,清晰定位标准紧缺度、层级和优先级。其是中医药领域制定标准的蓝图,也是今后一个时期编制中医药标准化规划、计 ...


  二、中医药标准体系编号规则

  中医药标准体系的层次编号和标准代号采用二节式,以短横线分开,前面的是层次序列子体系代号和类目代号,后面的是顺序号。中医药标准体系编号结构如图2示。


2 中医药标准体系编号结构

  第一层:按标准类别划分子体系,每个子体系采用关键词首字母缩写表示,其中:JC表示基础标准,JS表示技术标准,GL表示管理标准,GZ表示工作标准。

  第二层:按照中医药行业的各专业领域划分,用2位阿拉伯数字表示。其中:00表示通用类标准,01表示中医类标准,02表示针灸类标准,03表示中医养生保健类标准,04表示中药类标准,05表示中药材种子种苗类标准,06表示中西医结合类标准,07表示中医药信息类标准,08表示中医药教育类标准,09表示中医药科研类标准,10表示中医文化类标准,11表示中医药国际合作交流类标准,99表示其他类标准。未来新增加的专业领域,则按照1213……顺序编号。

  第三层:按照中医药各专业领域下的业务类型进行划分,用2位阿拉伯数字表示。其中01表示通用类标准……99代表其他。

  第四层:对各业务领域进一步细分,用2位阿拉伯数字表示,从01开始编码,99代表其他。如类目不存在,则以00补位。

  第五层:标准顺序号位,用3位阿拉伯数字表示,从001开始编码。

  例如:“中医四诊操作规范 1部分 望诊(GB/T 40665.1-2021)”的中医药标准体系编号如图3所示:


3 中医药标准体系编号(示例)

 

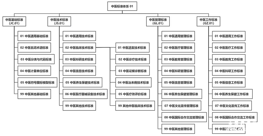
  三、重点领域标准子体系结构

  全国中医药各专业标准化技术委员会,应按照图1中医药标准体系层次结构,构建各自领域标准子体系(示例见图4),填写中医药标准明细表、中医药标准统计表(样式见附件12),报我局政策法规与监督司备案后实施。


4 中医标准体系()

 

 

附件1中医药标准明细表(例)

 

1 中医药基础标准明细表(例)

1 中医药基础标准明细表(例)

序号

标准体系表编号

标准号

标准名称

宜定级别

实施日期

国际国外标准号及采用关系

被代替标准号
或作废

 

1

JC.01.02.00-003

GB/T 16751.1-2023

中医临床诊疗术语  1部分:疾病

国家标准

2023-03-17

GB/T 16751.1-1997

 


2 中医药技术标准明细表(例)

2 中医药技术标准明细表(例)

序号

标准体系表编号

标准号

标准名称

宜定级别

实施日期

国际国外标准号及采用关系

被代替标准号或作废

 

1

JS.01.02.02-028

GB/T 40665.1-2021

中医四诊操作规范  第1部分:望诊

国家标准

2021-11-26

 


3 中医药管理标准明细表(例)

3 中医药管理标准明细表(例)

序号

标准体系表编号

标准号

标准名称

宜定级别

实施日期

国际国外标准号及采用关系

被代替标准号或作废

 

1

GL.02.02.00-001

GB/T 40973-2021

针灸门诊基本服务规范

国家标准

2021-11-26

 

 

 

 

附件2 中医药标准统计表

4 中医药标准统计表

标准类别

标准性质

已颁标准

在研项目

计划项目

合 计

基础标准

国家标准

 

 

 

 

行业标准

 

 

 

 

小计

 

 

 

 

技术标准

国家标准

 

 

 

 

行业标准

 

 

 

 

小计

 

 

 

 

管理标准

国家标准

 

 

 

 

行业标准

 

 

 

 

小计

 

 

 

 

 

 

 

 

 

12

路过

雷人

握手

鲜花

鸡蛋

本站信息仅供参考,不能作为诊断医疗依据,所提供文字图片及视频等信息旨在参考交流,如有转载引用涉及到侵犯知识产权等相关问题,请第一时间联系我们及时处理!

在线客服|关于我们|移动客户端 | 手机版|电子书籍下载|中医启疾光网 ( 鄂ICP备20008850号|公安备案图标鄂公网安备42011102005941号 )

Powered by Discuz! X3.5© 2001-2026 Discuz! Team. zyqjg.com

中医网版权标识 - 弘扬中医文化,传承中华医学

返回顶部