参照药预沟通办法

2026-2-10 22:41| 发布者: 启疾光| 查看: 527| 评论: 0

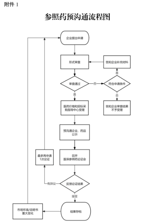
摘要: 为进一步加强政企沟通交流,持续做好医保药品目录调整、真实世界医保综合价值评价等工作,根据国家医保局、国家卫生健康委《支持创新药高质量发展的若干措施》有关要求,现制定《参照药预沟通办法(试行)》 ...



 


路过

雷人

握手

鲜花

鸡蛋

本站信息仅供参考,不能作为诊断医疗依据,所提供文字图片及视频等信息旨在参考交流,如有转载引用涉及到侵犯知识产权等相关问题,请第一时间联系我们及时处理!

在线客服|关于我们|移动客户端 | 手机版|电子书籍下载|中医启疾光网 ( 鄂ICP备20008850号|公安备案图标鄂公网安备42011102005941号 )

Powered by Discuz! X3.5© 2001-2026 Discuz! Team. zyqjg.com

中医网版权标识 - 弘扬中医文化,传承中华医学

返回顶部